1月5日,外媒videogameschronicle指出,索尼的一项新专利显示,未来PlayStation游戏或可借助AI技术“自己通关”。
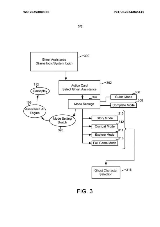
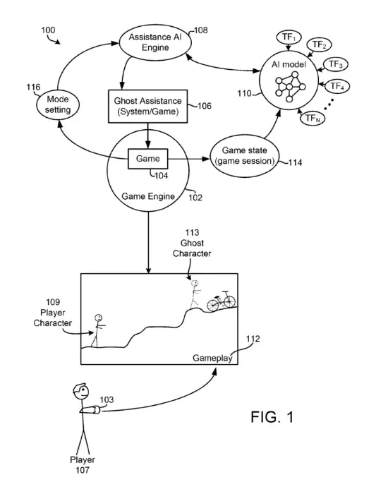
这项被称为Ghost Player(幽灵玩家)的辅助系统,允许玩家召唤由一个AI生成的角色出场,既可针对卡关的环节演示解法,也能直接代玩整个关卡。

该技术于2024年9月提交申请,而根据世界知识产权组织本周公布的专利报告显示,其核心分为两种模式:“引导模式”中,AI将操控角色演示具体的解决方案,再由玩家自行操作;“完成模式”则会直接替玩家完成这一段内容。
而该人工智能模型将使用现有的游戏录像进行训练,而不是使用开发者预先录制的一系列输入。

近年来,游戏内置辅助功能已成为常见设计,包括难度调节、跳过战斗或谜题提示等。例如索尼的《战神:诸神黄昏》就曾因给予玩家过多帮助而被指并不合适。
不过,这一专利的公布并不代表该技术将投入实际应用。因为索尼及其他公司常会申请大量专利而未必真实投入使用。但即便如此,这项专利仍揭示了游戏厂商探索AI与交互融合的新方向,如果真实投入一定会为游戏通关带来不少便利。

屏幕前的大家支持这样的AI专利吗,如果AI可以帮你解决一些会让你红温的迷宫或者谜题,你会不会使用它?
本文由制作发布,未经允许禁止转载。