一次接收两个音频 索尼新耳机技术申请专利曝光
最近,有消息报道索尼神祇的一项最新专利是有关耳机的,这项专利可以使索尼的耳机可以同时接收两种不同类型的无线信号。索尼的耳机在业界一直都享有盛名,但这次也是索尼首次将这两种技术融合。

长期以来,索尼一直是专业音频产品时常的领头羊。索尼为PlayStation专研的无线射频耳机被认为是游戏机市场上最好的耳机之一,旗下的无限降噪耳机也备受好评。

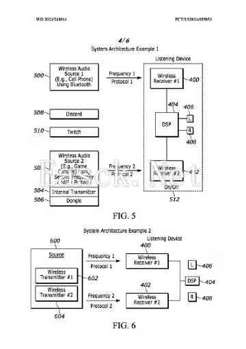
在2024年11月的专利申请中,索尼首次在双接收器耳机技术的探索中迈出了新一步。新的专利技术不仅能使耳机连接射频和蓝牙两种信号,还可以在耳机内部实现这两种信号的混合播放。而当前的蓝牙Multipoint设备可以同时与多个设备配对,但一次只能播放一个音频源。

对于玩家来说,这项技术能使他们同时接收游戏音频与其他软件的音频,如果能够保持双源的保真度并灵活地混合两个音频,索尼生态系统将进行重大升级。此外,对于同时使用电视、游戏机及手机的多任务用户来说,这种技术的应用将大大拓宽其使用的灵活性。

尽管索尼最近一直在积极申请专利,但目前尚未明确这一技术是否将很快推向市场。
- 1和平精英
-
1
- 2香肠派对
-
2
- 3火龙复古
-
3
- 4暗黑破坏神2.7 重制版
-
4
- 5战场女神
-
5
- 6战神之决战西伯利亚
-
6
- 7黎明召唤
-
7
- 8超神之刃
-
8




三国:谋定天下
侠盗猎车手:罪恶都市
离火之境
幻唐志
辐射:避难所Online
王者荣耀














