所在位置:首页 > 手游 > 手游攻略 — 《少前:云图计划》医师函数卡一览

《少前:云图计划》医师函数卡一览

作者: 日期:2026-02-12 10:51:16

少前云图计划医师函数卡有哪些?《少前:云图计划》游戏中玩家们在通关的时候会选择一个函数卡来增加战力,那么都有哪些呢?今天小编就给大家介绍一下少前云图计划医师函数卡一览。

《少前:云图计划》医师函数卡一览

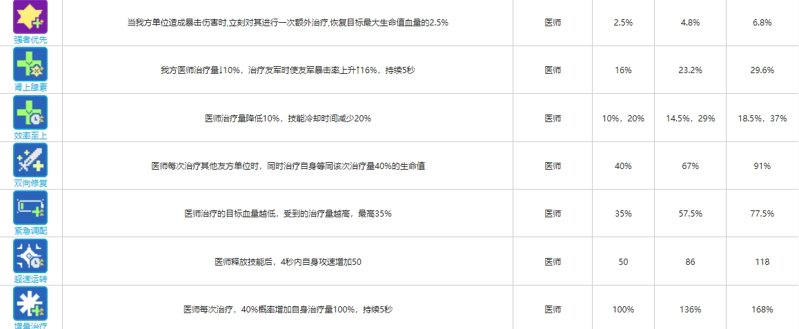
【函数卡介绍】

以上就是《少前:云图计划》医师函数卡一览,更多游戏攻略请持续关注手游网!

本文内容来源于互联网,如有侵权请联系删除。

最新文章