所在位置:首页 > 资讯 > 全球热游 — PlayStation 申请 AI 辅助功能专利:可在玩家卡关时接管游戏

PlayStation 申请 AI 辅助功能专利:可在玩家卡关时接管游戏

作者: 日期:2026-01-06 22:02:40

PlayStation 正在探索让 AI 接管游戏的可能性,以便在你卡关时提供帮助。

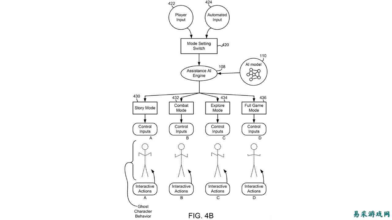
索尼提交的专利文件显示,他们计划提供一种游戏内的“AI 幻影(AI Ghost)”,它可以演示如何进一步推进进度,或者完全接管你的操作以替你完成进度。

有趣的是,索尼建议可以随时调用该 AI,它是通过 YouTube 和 Twitch 上发布的过往游戏视频剪辑,以及从 PlayStation Network 收集的游玩数据训练而成的。其核心思路是 AI 能够检测玩家正在进行的操作,并将其与过去的成功案例进行对比,然后提供解决方案。

索尼的专利将这种新一代 AI 辅助定位为优于以往游戏中的示例,并提到了一个未指名的例子,听起来类似于任天堂在某些马里奥 2D 平台游戏中提供的辅助功能。

“一些解决方案包括使用一个用户可以跟随的角色,”索尼在专利中写道,“然而,该角色通常是之前玩过游戏的玩家的图形图像或轮廓图像,用户必须跟随该角色观察发生的动作(包括与用户当前游戏场景无关的动作和交互)。”

“然而,这对于在特定游戏场景或玩家特定游戏路径中遇到困难的玩家进行实时辅助并不是非常有用。这是因为该角色并不具体了解玩家正在玩什么或用户游戏的上下文环境。”

“此外,该角色通常只执行一个先前玩家的动作。再者,该角色仅针对与游戏相关的通用游戏场景展示,而不是针对玩家当前游戏的上下文环境。”

索尼表示,其 AI 辅助系统将能够以更细颗粒度的水平跟踪玩家进度,因此 AI 能够准确检测到某人在特定时刻想要实现的目标。

这是一个有趣的想法,尽管目前它还只是一个想法。AI 在玩游戏或检测你到底需要做什么才能玩得更好方面能达到什么程度?如果我卡在《光明远景(Clair Obscur)》的某个 Boss 处,它会为我的角色重新洗点并提供更好的配置吗?尽管如此,它或许能帮我最终通关《血源诅咒(Bloodborne)》,那倒也不错。

最新文章